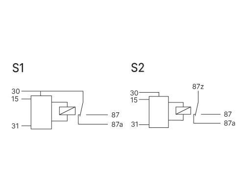
The TogÂgle Relay is used to switch loads on and off via pushÂbutÂton opÂerÂaÂtion. Circuit diagram S1: With the step switching relay a consumer can be switched via a button. If a positive/negative impulse is applied to Terminal 15, the relay switches and holds itself. Another impulse is switched on again (Power surge switch or toggle flip-flop). The terminal 15 is debounced.
Circuit diagram S2: The contacts are separate from the control and can therefore be used in links. In this variant, the relay contact is completely potential-free and thus capable of switching alternating voltage. Housing forms can be found in the section housing and basic body.
In stock




Description
Additional information
|
Downloads
Order options
Order No.
Name



